JSDelivr是一种特殊的CDN。 它旨在让用户下载npm和Github上托管JavaScript库,jsDelivr是一个开源的网站,提供免费的cdn加速加载资源。
比如网站中要用的js文件,jpg等图片,mp3等文件都可以通过免费的cdn加速。

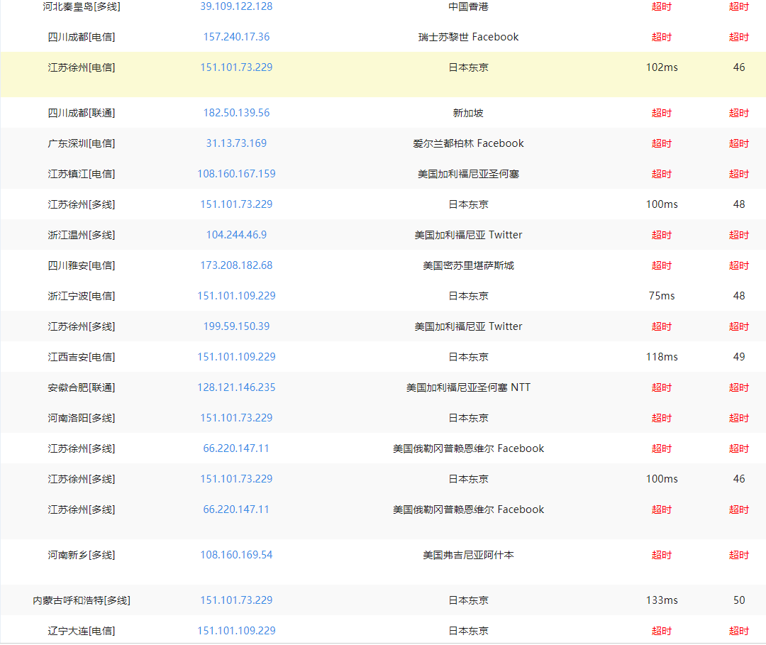
cdn.jsdelivr于2022年4月29日凌晨开始DNS污染 现在大陆部分区域已经开始污染了
不知道各位放在JSDelivr的图片还好吗

JSDelivr是一种特殊的CDN。 它旨在让用户下载npm和Github上托管JavaScript库,jsDelivr是一个开源的网站,提供免费的cdn加速加载资源。
比如网站中要用的js文件,jpg等图片,mp3等文件都可以通过免费的cdn加速。

cdn.jsdelivr于2022年4月29日凌晨开始DNS污染 现在大陆部分区域已经开始污染了
不知道各位放在JSDelivr的图片还好吗

2022年4月29日 13:25,若内容或图片失效,请在下方
留言或联系
酷库博客站长。
目录
请登录后发表评论
注册
请登录后查看评论内容